Electric Current MCQ Questions & Answers in Electrostatics and Magnetism | Physics
Learn Electric Current MCQ questions & answers in Electrostatics and Magnetism are available for students perparing for IIT-JEE, NEET, Engineering and Medical Enternace exam.
21.
Fuse wire is a wire of
A
low resistance and low melting point
B
low resistance and high melting point
C
high resistance and high melting point
D
high resistance and low melting point
Answer :
high resistance and low melting point
The electric fuse is a device which is used to limit the current in an electric circuit. Thus, the use of fuse safeguards the circuit and the appliances connected in the circuit from being damaged. It is always connected with the live (or phase) wire. The fuse wire is a short piece of wire made of a material of high resistance and low melting point so that it may easily melt due to overheating when excessive current passes through it.
22.
A potentiometer wire is $$100\,cm$$ long and a constant potential difference is maintained across it. Two cells are connected in series first to support one another and then in opposite direction. The balance points are obtained at $$50\,cm$$ and $$10\,cm$$ from the positive end of the wire in the two cases. The ratio of emf is
A
$$5:4$$
B
$$3:4$$
C
$$3:2$$
D
$$5:1$$
Answer :
$$3:2$$
According to question, emf of the cell is directly proportional to the balancing length i.e.
$$E \propto l\,......\left( {\text{i}} \right)$$
Now, in the first case, cells are connected in series to support one another i.e.
Net $$emf = {E_1} + {E_2}$$
From Eq. (i), $${E_1} + {E_2} = 50\,cm\left( {{\text{given}}} \right)\,......\left( {{\text{ii}}} \right)$$
Again cells are connected in series in opposite direction i.e.
$${\text{Net}}\,emf = {E_1} - {E_2}$$
From Eq. (i), $${E_1} - {E_2} = 10\,......\left( {{\text{iii}}} \right)$$
From Eqs. (ii) and (iii)
$$\frac{{{E_1} + {E_2}}}{{{E_1} - {E_2}}} = \frac{{50}}{{10}} \Rightarrow \frac{{{E_1}}}{{{E_2}}} = \frac{{5 + 1}}{{5 - 1}} = \frac{6}{4} = \frac{3}{2}$$
23.
The resistance of a wire is $$R.$$ It is bent at the middle by $${180^ \circ }$$ and both the ends are twisted together to make a shorter wire. The resistance of the new wire is
A
$$2R$$
B
$$\frac{R}{2}$$
C
$$\frac{R}{4}$$
D
$$\frac{R}{8}$$
Answer :
$$\frac{R}{4}$$
Resistance of wire $$\left( R \right) = \rho \frac{l}{A}$$
If wire is bent in the middle then
$$l' = \frac{l}{A},A' = 2A$$
∴ New, $$R' = \rho \frac{{l'}}{{A'}} = \frac{{\rho \frac{l}{A}}}{{2A}} = \frac{{\rho l}}{{4A}} = \frac{R}{4}.$$
24.
In the circuit shown in the figure, if potential at point $$A$$ is taken to be zero, the potential at point $$B$$ is
25.
Three equal resistors connected in series across a source of emf together dissipate $$10\,W$$ of power. What will be the power dissipated in watt if the same resistors are connected in parallel across the same source of emf ?
A
$$\frac{{10}}{3}$$
B
$$10$$
C
$$30$$
D
$$90$$
Answer :
$$90$$
Power, $$P = \frac{{\Delta U}}{{\Delta t}} = V\frac{{\Delta q}}{{\Delta t}} = Vi$$
$${\text{or}}\,\,P = Vi = \frac{{{V^2}}}{R}\,\,\left( {\because V = iR} \right)$$
When resistors are in series, then
$$\eqalign{
& {R_1} = R + R + R \cr
& = 3R \cr} $$
$$\therefore $$ Power dissipated,
$${P_1} = \frac{{{V^2}}}{{{R_1}}} = \frac{{{V^2}}}{{3R}}\,......\left( {\text{i}} \right)$$
When resistors are in parallel, then
$$\eqalign{
& \frac{1}{{{R_2}}} = \frac{1}{R} + \frac{1}{R} + \frac{1}{R} \cr
& = \frac{3}{R} \cr
& \Rightarrow {R_2} = \frac{R}{3} \cr
& \therefore {P_2} = \frac{{{V^2}}}{{{R_2}}} = \frac{{{V^2}}}{{\frac{R}{3}}} = \frac{{3{V^2}}}{R}\,.......\left( {{\text{ii}}} \right) \cr} $$
By taking ratio of Eqs. (i) and (ii)
$$\eqalign{
& \frac{{{P_2}}}{{{P_1}}} = \frac{{3{V^2}}}{R} \times \frac{{3R}}{{{V^2}}} \cr
& = 9 \cr
& {P_2} = 9{P_1} \cr
& = 9 \times 10 \cr
& = 90\,W \cr} $$
26.
The electrochemical equivalent of a metal is $${3.35109^{ - 7}}kg$$ per Coulomb. The mass of the metal liberated at the cathode when a $$3A$$ current is passed for 2 seconds will be
A
$$6.6 \times {10^{57}}kg$$
B
$$9.9 \times {10^{ - 7}}kg$$
C
$$19.8 \times {10^{ - 7}}kg$$
D
$$1.1 \times {10^{ - 7}}kg$$
Answer :
$$19.8 \times {10^{ - 7}}kg$$
The mass liberated $$m,$$ electrochemical equivalent of a metal $$Z,$$ are related as
$$\eqalign{
& m = Zit \cr
& \Rightarrow m = 3.3 \times {10^{ - 7}} \times 3 \times 2 = 19.8 \times {10^{ - 7}}kg \cr} $$
27.
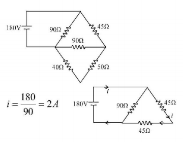
In the circuit shown in the figure, find the current in $$45\,\Omega .$$
A
$$4\,A$$
B
$$2.5\,A$$
C
$$2\,A$$
D
None of these
Answer :
$$2\,A$$
28.
A resistance is shown in the figure. Its value and tolerance are given respectively by:
A
$$270\,\Omega ,\,10\% $$
B
$$27k\,\Omega ,\,10\% $$
C
$$27k\,\Omega ,\,20\% $$
D
$$270\,\Omega ,\,5\% $$
Answer :
$$27k\,\Omega ,\,10\% $$
Using colour code we have
$$\eqalign{
& R = 27 \times {10^3}\Omega \pm 10\% \cr
& = 27\,k\Omega \pm 10\% \cr} $$
29.
Find out the value of current through $$2\,\Omega $$ resistance for the given circuit.
A
zero
B
$$2A$$
C
$$5A$$
D
$$4A$$
Answer :
zero
The current in $$2\,\Omega $$ resistor will be zero because it is not a part of any closed loop.
30.
Six identical resistors are connected as shown in the figure. The equivalent resistance will be
A
Maximum between $$P$$ and $$R$$
B
Maximum between $$Q$$ and $$R$$
C
Maximum between $$P$$ and $$Q$$
D
All are equal
Answer :
Maximum between $$P$$ and $$Q$$
For various combinations equivalent resistance is maximum between $$P$$ and $$Q.$$