Frequency of $${1^{st}}$$ harmonic of $$AB = \frac{1}{{2\,\ell }}\sqrt {\frac{{{T_{AB}}}}{m}} $$
Frequency of $${2^{nd}}$$ harmonic of $$CD = \frac{1}{\ell }\sqrt {\frac{{{T_{CD}}}}{m}} $$
Given that the two frequencies are equal.
$$\eqalign{
& \therefore \,\,\frac{1}{{2\,\ell }}\sqrt {\frac{{{T_{AB}}}}{m}} = \frac{1}{\ell }\sqrt {\frac{{{T_{CD}}}}{m}} \cr
& \Rightarrow \,\,\frac{{{T_{AB}}}}{4} = {T_{CD}} \cr
& \Rightarrow \,\,{T_{AB}} = 4\,{T_{CD}}\,\,\,.....\left( {\text{i}} \right) \cr} $$

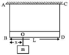
For rotational equilibrium of massless rod, taking torque about point $$O.$$
$${T_{AB}} \times x = {T_{CD}}\left( {L - x} \right)\,\,\,\,\,.....\left( {{\text{ii}}} \right)$$
For translational equilibrium,
$${T_{AB}} + {T_{CD}} = mg\,\,\,\,.....\left( {{\text{iii}}} \right)$$
On solving, (i) and (iii), we get
$$\eqalign{
& {T_{CD}} = \frac{{mg}}{5} \cr
& \therefore \,\,{T_{AB}} = \frac{{4\,mg}}{5} \cr} $$
Substituting these values in (ii), we get
$$\eqalign{
& \frac{{4\,mg}}{5} \times x = \frac{{mg}}{5}\left( {L - x} \right) \cr
& \Rightarrow \,\,x = \frac{L}{5} \cr} $$