Work Energy and Power MCQ Questions & Answers in Basic Physics | Physics
Learn Work Energy and Power MCQ questions & answers in Basic Physics are available for students perparing for IIT-JEE, NEET, Engineering and Medical Enternace exam.
71.
The heart of a man pumps $$5 L$$ of blood through the arteries per minute at a pressure of $$150\,mm$$ of mercury. If the density of mercury be $$13.6 \times {10^3}kg/{m^3}$$ and $$g = 10\,m/{s^2},$$ then the power of heart in watt is
A
1.70
B
2.35
C
3.0
D
1.50
Answer :
1.70
Given, pressure $$= 150\,mm$$ of $$Hg$$
Pumping rate of heart of a man
$$ = \frac{{dV}}{{dt}} = \frac{{5 \times {{10}^{ - 3}}}}{{60}}\,{m^3}/s$$
Power of heart $$ = P \cdot \frac{{dV}}{{dt}} = \rho gh \cdot \frac{{dV}}{{dt}}\,\,\left[ {p = \rho gh} \right]$$
$$\frac{{\left( {13.6 \times {{10}^3}\,kg/{m^3}} \right)\left( {10 \times 0.15 \times 5 \times {{10}^{ - 3}}} \right)}}{{60}} = 1.70\,W$$
72.
A uniform chain of length $$2 \,m$$ is kept on a table such that a length of $$60 \,cm$$ hangs freely from the edge of the table. The total mass of the chain is $$4 \,kg.$$ What is the work done in pulling the entire chain on the table ?
A
$$12 \,J$$
B
$$3.6 \,J$$
C
$$7.2 \,J$$
D
$$1200 \,J$$
Answer :
$$3.6 \,J$$
Mass of over hanging chain $$m' = \frac{4}{2} \times \left( {0.6} \right)kg$$
Let at the surface $$PE =0$$
C.M. of hanging part $$= 0.3 \,m$$ below the table
$${U_i} = - m'gx = - \frac{4}{2} \times 0.6 \times 10 \times 0.30$$
$$\Delta U = m'gx = 3.6\,J = $$ Work done in putting the entire chain on the table.
73.
A body of mass $$1\,kg$$ begins to move under the action of a time dependent force $$F = \left( {2t\,\hat i + 3{t^2}\hat j} \right)N,$$ where $${\hat i}$$ and $${\hat j}$$ are unit vectors along $$X$$ and $$Y$$ axes. What power will be developed by the force at the time $$\left( t \right)$$ ?
A
$$\left( {2{t^2} + 4{t^4}} \right)W$$
B
$$\left( {2{t^3} + 3{t^4}} \right)W$$
C
$$\left( {2{t^3} + 3{t^5}} \right)W$$
D
$$\left( {2t + 3{t^3}} \right)W$$
Answer :
$$\left( {2{t^3} + 3{t^5}} \right)W$$
According to question, a body of mass $$1\,kg$$ begins to move under the action of time dependent force,
$$F = \left( {2t\hat i + 3{t^2}\hat j} \right)N$$
where $${\hat i}$$ and $${\hat j}$$ are unit vectors along $$X$$ and $$Y$$-axes.
$$\eqalign{
& \because F = ma \cr
& \Rightarrow a = \frac{F}{m} \cr
& \Rightarrow a = \frac{{\left( {2t\hat i + 3{t^2}\hat j} \right)}}{1}\,\,\,\left( {\because m = 1\,kg} \right) \cr
& \Rightarrow a = \left( {2t\hat i + 3{t^2}\hat j} \right)m/{s^2} \cr
& \because {\text{acceleration,}}\,\,a = \frac{{dv}}{{dt}} \cr
& \Rightarrow dv = adt\,......\left( {\text{i}} \right) \cr} $$
Integrating both sides, we get
$$\eqalign{
& \int {dv} = \int a \,dt = \int {\left( {2t\hat i + 3{t^2}\hat j} \right)dt} \cr
& v = {t^2}\hat i + {t^3}\hat j \cr} $$
$$\because $$ Power developed by the force at the time $$t$$ will be given as
$$\eqalign{
& P = F \cdot v = \left( {2t\hat i + 3{t^2}\hat j} \right).\left( {{t^2}\hat i + {t^3}\hat j} \right) \cr
& = \left( {2t.{t^2} + 3{t^2}.{t^3}} \right) \cr
& P = \left( {2{t^3} + 3{t^5}} \right)W \cr} $$
74.
On a frictionless surface, a block of mass $$M$$ moving at speed $$v$$ collides elastically with another block of same mass $$M$$ which is initially at rest. After collision the first block moves at an angle $$\theta $$ to its initial direction and has a speed $$\frac{v}{3}.$$ The second block's speed after the collision is
A
$$\frac{{2\sqrt 2 }}{3}v$$
B
$$\frac{3}{4}v$$
C
$$\frac{3}{{\sqrt 2 }}v$$
D
$$\frac{{\sqrt 3 }}{2}v$$
Answer :
$$\frac{{2\sqrt 2 }}{3}v$$
According to law of conservation of kinetic energy,
we have $$\frac{1}{2}M{v^2} + 0 = \frac{1}{2}M{\left( {\frac{v}{3}} \right)^2} + \frac{1}{2}Mv_2^2$$
$$\eqalign{
& \Rightarrow {v^2} = \frac{{{v^2}}}{9} + v_2^2 \cr
& \Rightarrow {v^2} - \frac{{{v^2}}}{9} = v_2^2 \Rightarrow \frac{{8{v^2}}}{9} \cr} $$
Velocity of second block after collision $${v_2} = \frac{{2\sqrt 2 }}{3}v$$
75.
A block of mass $$m$$ is suspended by a light thread from a lift. The lift is moving upward with uniform velocity $$v.$$ From the frame of lift, the work done by tension on the block in $$t$$ seconds will be
A
$$ - mgvt$$
B
$$0$$
C
$$\frac{{mgvt}}{2}$$
D
$${mgvt}$$
Answer :
$$0$$
In the frame of lift displacement is zero,
$${\text{so}}\,\,W = F.S = T.S = 0.$$
76.
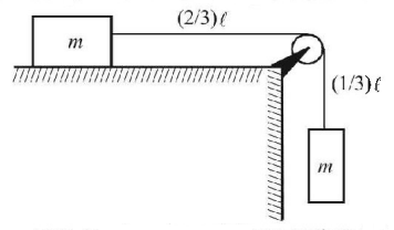
Two objects each of mass $$m$$ are connected with a uniform rope having same mass $$m$$ and length $$\ell = \frac{{10}}{3}m$$ are shown in the figure. The rope can slide on a frictionless pulley which is fixed to the edge of the table. Initially $$\frac{1}{3}$$ of the rope hangs vertically. Friction is negligible everywhere.
If the system is released from rest and object on the right hand side descend further by a distance of $$\frac{\ell }{3},$$ what would be the speed of the object (in $$m/s$$ )?
A
$$2.12\,m/s$$
B
$$3.33\,m/s$$
C
$$0.33\,m/s$$
D
$$4.12\,m/s$$
Answer :
$$3.33\,m/s$$
By using mechanical energy conservation $$v = \frac{{10}}{3} = 3.33\,m/s$$
77.
A body of mass $$m$$ moving with velocity $$3\,km/h$$ collides with a body of mass $$2 m$$ at rest. Now, the coalesced mass starts to move with a velocity
A
$$1\,km/h$$
B
$$2\,km/h$$
C
$$3\,km/h$$
D
$$4\,km/h$$
Answer :
$$1\,km/h$$
Let $$v$$ be velocity of combined mass after collision.
Applying law of conservation of linear momentum
Initial momentum = Final momentum
$$\eqalign{
& m \times 3 + 2m \times 0 = \left( {m + 2m} \right)v \cr
& {\text{or}}\,\,3m = 3mv\,\,{\text{or}}\,\,v = 1\,km/h \cr} $$
78.
A force acts on a $$3.0\,g$$ particle in such a way that the position of the particle as a function of time is given by $$x = 3t - 4{t^2} + {t^3},$$ where $$x$$ is in metre and $$t$$ in second. The work done during the first $$4\,s$$ is
79.
A ball is thrown vertically downwards from a height of $$20\,m$$ with an initial velocity $${v_0}.$$ It collides with the ground, loses $$50\% $$ of its energy in collision and rebounds to the same height. The initial velocity $${v_0}$$ is (Take, $$g = 10\,m{s^{ - 2}}$$ )
A
$$14\,m{s^{ - 1}}$$
B
$$20\,m{s^{ - 1}}$$
C
$$28\,m{s^{ - 1}}$$
D
$$10\,m{s^{ - 1}}$$
Answer :
$$20\,m{s^{ - 1}}$$
Suppose a ball rebounds with speed $$v,$$
$$\eqalign{
& v = \sqrt {2gh} = \sqrt {2 \times 10 \times 20} \cr
& = 20\,m/s \cr} $$
Energy of a ball just after rebound,
$$E = \frac{1}{2}m{v^2} = 200\,m$$
As, $$50\% $$ of energy loses in collision means just before collision energy is $$400\,m.$$
According to law of conservation of energy, we have
$$\eqalign{
& \frac{1}{2}mv_0^2 + mgh = 400\,m \cr
& \Rightarrow \frac{1}{2}mv_0^2 + m \times 10 \times 20 = 400\,m \cr
& \Rightarrow {v_0} = 20\,m/s \cr} $$
80.
A bead of mass $$m$$ is sliding down the fixed inclined rod without friction. It is connected to a point $$P$$ on the horizontal surface with a light spring of spring constant $$k.$$ The bead is initially released from rest and the spring is initially unstressed and vertical. The bead just stops at the bottom of the inclined rod. Find the angle which the inclined rod makes with horizontal.